Community Tip - You can change your system assigned username to something more personal in your community settings. X
Hi everyone,
Would appreciate if anyone can shed some light on this.
I'm new to Creo 5.0. Trying to make a section cut in my part itself (Not drawing).
1.View-> Section -> Offset Section
2. I then select my sketch
3. And things work fine so long as my sketch consists of straight lines. If my sketch is an open semi-circle for example then Creo refuses to do the cut.
Am I missing something?
Thank You
Sandy
Solved! Go to Solution.
@Sandy1 wrote:
Hi Martin, kdirth,
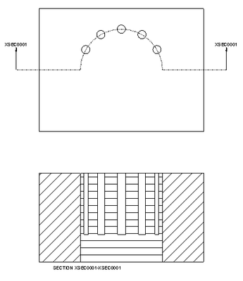
Please find attached pictures and the part of what I am referring to. I am trying to do a sectional cut.
View-> Section -> Offset Section, from there I can choose a sketch. But it seems that the offset Section cannot display sectional cut from sketch that contains curve.
I know Catia can do that, and by extension Solidworks as well. I'm pretty sure Creo can do it, can it?
Thank you
Sandy
Hi,
unfortunately requested functionality is not implemented. Please read https://www.ptc.com/en/support/article/CS252750 document. It contains following text:
@Sandy1 wrote:
Hi everyone,
Would appreciate if anyone can shed some light on this.
I'm new to Creo 5.0. Trying to make a section cut in my part itself (Not drawing).
1.View-> Section -> Offset Section
2. I then select my sketch
3. And things work fine so long as my sketch consists of straight lines. If my sketch is an open semi-circle for example then Creo refuses to do the cut.
Am I missing something?
Thank You
Sandy
Hi,
I guess semicircle entities are not allowed. Please attach a picture of your "cut".
Hi Martin, kdirth,
Please find attached pictures and the part of what I am referring to. I am trying to do a sectional cut.
View-> Section -> Offset Section, from there I can choose a sketch. But it seems that the offset Section cannot display sectional cut from sketch that contains curve.
I know Catia can do that, and by extension Solidworks as well. I'm pretty sure Creo can do it, can it?
Thank you
Sandy
@Sandy1 wrote:
Hi Martin, kdirth,
Please find attached pictures and the part of what I am referring to. I am trying to do a sectional cut.
View-> Section -> Offset Section, from there I can choose a sketch. But it seems that the offset Section cannot display sectional cut from sketch that contains curve.
I know Catia can do that, and by extension Solidworks as well. I'm pretty sure Creo can do it, can it?
Thank you
Sandy
Hi,
unfortunately requested functionality is not implemented. Please read https://www.ptc.com/en/support/article/CS252750 document. It contains following text:
Thank you @MartinHanak
I would have thought such a powerful CAD software would have handled that easily, especially while others can. Oh well....
Sandy
I agree that this is something that CREO should be able to handle.
They appear to have not put in the effort to make it work in a shaded view. It does work in a line view and partially in a drawing. The cross section lines in the drawing are a bit messed up, not maintaining the angle through the arc. Images below.
Looking at the messages while trying to create the section in 4.0 I get the following message:
"Offset sections that include arcs or splines cannot be displayed as clipped in shaded mode."
You can use arcs and splines to create an offset section. However, for whatever reason, you can not show the section in a shaded mode. Works fine in wireframe.
