Community Tip - When posting, your subject should be specific and summarize your question. Here are some additional tips on asking a great question. X
Ordinate Dimension Orientation:
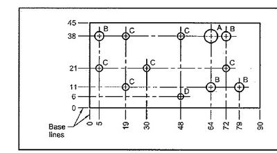
I want to flip my Dimension text around 180 Degrees.
My Parts 0 is at the left of my drawing and is the bottom of my part. And what is at the right would be the top.
So I want the bottom of my text facing the other way.
Any Ideas. I don't have room to flip my text horizontal.
Unfortunately ASME Y14.5 (1.7.5.3) specifically states that baseline dimensioning should be read from the bottom or the right side of the drawing. I don't think Creo allows flipping the direction due to that limitation.
(the standard states "should" and not "shall" so your drawing would not technically be wrong if you could figure out how to get the text to show in the other orientation
I know it's legal for me to do it that way so I should be able to.
This totally reminds me of a Futurama.
https://www.youtube.com/watch?v=DjRd9h8xBiE
Don't quote regulation to me! I co-chaired the committee that reviewed the recommendation to revise the color of the book that regulation is in. We kept it gray.
https://www.youtube.com/watch?v=hou0lU8WMgo
Technically you are correct. The Best Kind of Correct.
Haha, I love futurama.
What I was really getting at was that since the standard states from the bottom or the right, it's typical that Creo will NOT allow it to be from the other orientations. They like "shall" with no exceptions instead of "should".
I think this is a product enhancement request for this functionality.
Thanks, I'll also put a ticket into PTC directly to get it fixed. If enough of us annoy them they will eventually fix it.
Creo and I are old friends but I have been out of it for about 4 years. I am setting a new Cad System up and taking care of some big top models. And I forgot how fun it is to clean up circular references.
That idea has been marked as Archived, whatever that is?
I wonder if you could "cheat" and slightly rotate the view CCW...might have to create a new coordinate or model view or something.
