Datum features & datum frames/targets
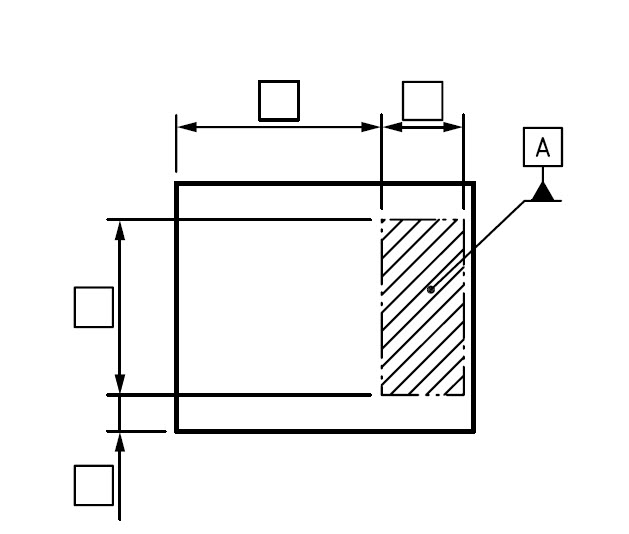
Hi, I can't get Creo to show the datum feature the way I like, I have a single datum frame/target on a part and will like to simplify the indication as shown in the picture below (ref, ISO 5459). Anybody know if this is possible?

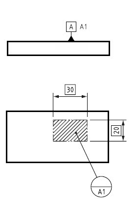
The only way I can achieve a result that comply with ISO 5459 in my situation is if I show the datum feature indication in another view/projection, attached to the surface, then uses a datum frame/target. The issue I have with this is that I can not find a god solution regarding adding the datum target name/number (A1) close to the datum feature indicator, as shown below. Sure I can add a note, but since I can not relate this note to the datum feature, it is not a robust metode....

Any good ideas?
This thread is inactive and closed by the PTC Community Management Team. If you would like to provide a reply and re-open this thread, please notify the moderator and reference the thread. You may also use "Start a topic" button to ask a new question. Please be sure to include what version of the PTC product you are using so another community member knowledgeable about your version may be able to assist.

