Question
How to make keyway(hole)?
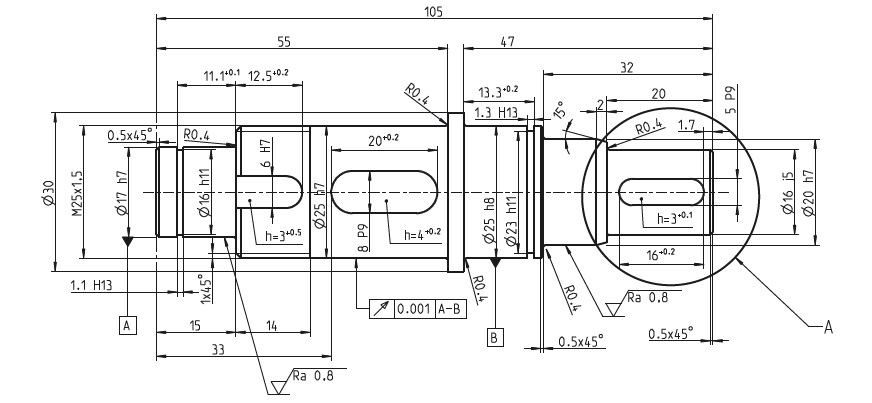
Hi everyone i need to make keyway(don't sure thats the write word if have any germans speakers - Passfedernut).
I need to make the three holes on top and I don't know how.Does anybody have an idea?

Hi everyone i need to make keyway(don't sure thats the write word if have any germans speakers - Passfedernut).
I need to make the three holes on top and I don't know how.Does anybody have an idea?

Enter your E-mail address. We'll send you an e-mail with instructions to reset your password.